elecena.pl

Capacitive touch MCU with 8 touch IO (16 sensors), 8KB FRAM, 2KB SRAM, 15 IO, 10-bit ADC

Texas Instruments

Capacitive touch MCU with 8 touch IO (16 sensors), 8KB FRAM, 2KB SRAM, 15 IO, 10-bit ADC RSS Sample
  • Darmowa próbka
MPN:
MSP430FR2522
Producent:
TEXAS INSTRUMENTS
Dodany do bazy:
Ostatnio widziany:

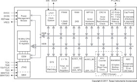
The MSP430FR25x2 is a family of ultra-low-power MSP430™ microcontrollers (MCUs) for capacitive touch sensing that feature CapTIvate™ touch technology for cost-sensitive applications featuring 1 to 16 capacitive buttons or proximity sensing. The MSP430FR25x2 MCUs offer value and performance for industrial applications exposed to electromagnetic disturbances, oil, water, and grease. The devices offer IEC-certified solutions with 5x lower power consumption than competition and support proximity sensing as well as touch through glass, plastic, and metal overlays.

TI capacitive touch sensing MSP430 MCUs are supported by an extensive hardware and software ecosystem with reference designs and code examples to get your design started quickly. The BOOSTXL-CAPKEYPAD BoosterPack™ plug-in module can be used with the CAPTIVATE-PGMR programmer board (standalone or as part of the MSP-CAPT-FR2633 CapTIvate development kit) or with the LaunchPad development kit ecosystem. TI also provides free software including the CapTIvate Design Center, where engineers can quickly develop applications with an easy-to-use GUI and MSP430Ware™ software, and comprehensive documentation with the CapTIvate technology guide.

MSP430 MCUs with CapTIvate technology provide the most integrated and autonomous capacitive-touch solutions in the market with high reliability and noise immunity at the lowest power. For more information visit ti.com/captivate.

For complete module descriptions, see the MSP430FR4xx and MSP430FR2xx Family User’s Guide.

Elecena nie prowadzi sprzedaży elementów elektronicznych, ani w niej nie pośredniczy.

Produkt pochodzi z oferty sklepu