elecena.pl

8-Channel, 16-Bit, Simultaneous Sampling ADC with Power Scaling, 110.8 kHz BW

Analog Devices

8-Channel, 16-Bit, Simultaneous Sampling ADC with Power Scaling, 110.8 kHz BW RSS Sample
  • Darmowa próbka
MPN:
AD7761
Producent:
ANALOG DEVICES
Dodany do bazy:
Ostatnio widziany:
Zmiana ceny:
-100% (21.01.2025)
Poprzednia cena:
9.95

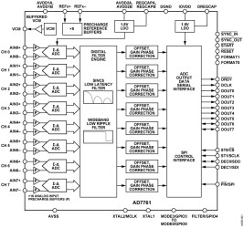
The AD7761 is an 8-channel, simultaneous sampling sigma-delta (Σ-Δ) analog-to-digital converter (ADC) with a Σ-Δ modulator and digital filter per channel, enabling synchronized sampling of ac and dc signals.

The AD7761 achieves 97.7 dB dynamic range at a maximum input bandwidth of 110.8 kHz, combined with typical performance of ±1 LSB integral nonlinearity (INL), ±1 LSB offset error, and ±5 LSB gain error.

The AD7761 user can trade off input bandwidth, output data rate, and power dissipation. Select one of three power modes to optimize the device for noise targets and power consumption. The flexibility of the AD7761 allows it to become a reusable platform for low power dc and high performance ac measurement modules.

The AD7761 has three modes: fast mode (256 kSPS maximum, 110.8 kHz input bandwidth, 51.5 mW per channel), median mode (128 kSPS maximum, 55.4 kHz input bandwidth, 27.5 mW per channel) and low power mode (32 kSPS maximum, 13.8 kHz input bandwidth, 9.375 mW per channel).

The AD7761 offers extensive digital filtering capabilities, such as a wideband, low ±0.005 dB pass-band ripple, antialiasing low-pass filter with sharp roll-off, and 105 dB attenuation at the Nyquist frequency.

Frequency domain measurements can use the wideband linear phase filter. This filter has a flat pass band (±0.005 dB ripple) from dc to 102.4 kHz at 256 kSPS, from dc to 51.2 kHz at 128 kSPS, or from dc to 12.8 kHz at 32 kSPS.

The AD7761 also offers sinc response via a sinc5 filter, a low latency path for low bandwidth, and low noise measurements.

The wideband and sinc5 filters can be selected and run on a per channel basis.

Within these filter options, the user can improve the dynamic range by selecting from decimation rates of ×32, ×64, ×128, ×256, ×512, and ×1024. The ability to vary the decimation filtering optimizes noise performance to the required input bandwidth.

Embedded analog functionality on each ADC channel makes design easier, such as a precharge buffer on each analog input that reduces analog input current and a precharge reference buffer per channel reduces input current and glitches on the reference input terminals.

The device operates with a 5 V AVDD1A and AVDD1B supply, a 2.25 V to 5.0 V AVDD2A and AVDD2B supply, and a 2.5 V to 3.3 V or 1.8 V IOVDD supply (see the 1.8 V IOVDD Operation section for specific requirements for operating at 1.8 V IOVDD).

The device requires an external reference; the absolute input reference voltage range is 1 V to AVDD1 − AVSS.

For the purposes of clarity within this data sheet, the AVDD1A and AVDD1B supplies are referred to as AVDD1 and the AVDD2A and AVDD2B supplies are referred to as AVDD2. For the negative supplies, AVSS refers to the AVSS1A, AVSS1B, AVSS2A, AVSS2B, and AVSS pins.

The specified operating temperature range is −40°C to +105°C. The device is housed in a 10 mm × 10 mm 64-lead LQFP package with a 12 mm × 12 mm printed circuit board (PCB) footprint.

Throughout this data sheet, multifunction pins, such as XTAL2/MCLK, are referred to either by the entire pin name or by a single function of the pin, for example MCLK, when only that function is relevant.

Applications

* Data acquisition systems: USB/PXI/Ethernet

* Instrumentation and industrial control loops

* Audio testing and measurement

* Vibration and asset condition monitoring

* 3-phase power quality analysis

* Sonar

* High precision medical electroencephalogram (EEG)/ electromyography (EMG)/electrocardiogram (ECG)

* Precision ac and dc performance

* 8-channel simultaneous sampling

* 256 kSPS ADC ODR per channel

* 97.7 dB dynamic range

* 110.8 kHz input bandwidth (−3 dB BW)

* −120 dB THD, typical

* ±1 LSB INL, ±1 LSB offset error, ±5 LSB gain error

* Optimized power dissipation vs. noise vs. input bandwidth

* Selectable power, speed, and input bandwidth

* Fast (highest speed): 110.8 kHz BW, 51.5 mW per channel

* Median (half speed): 55.4 kHz BW, 27.5 mW per channel

* Low power (lowest power): 13.8 kHz BW, 9.375 mW per channel

* Input BW range: dc to 110.8 kHz

* Programmable input bandwidth/sampling rates

* CRC error checking on data interface

* Daisy-chaining

* Linear phase digital filter

* Low latency sinc5 filter

* Wideband brick wall filter: ±0.005 dB ripple to 102.4 kHz

* Analog input precharge buffers

* Power supply

* AVDD1 = 5 V, AVDD2 = 2.25 V to 5.0 V

* IOVDD = 2.5 V to 3.3 V or IOVDD = 1.8 V

* 64-lead LQFP package, no exposed pad

* Temperature range: −40°C to +105°C

Elecena nie prowadzi sprzedaży elementów elektronicznych, ani w niej nie pośredniczy.

Produkt pochodzi z oferty sklepu