elecena.pl

Automotive 12-V battery, 3.5-A peak sensorless sinusoidal control 3-phase BLDC motor driver

Texas Instruments

Automotive 12-V battery, 3.5-A peak sensorless sinusoidal control 3-phase BLDC motor driver RSS Sample
  • Darmowa próbka
MPN:
DRV10983-Q1
Producent:
TEXAS INSTRUMENTS
Dodany do bazy:
Ostatnio widziany:

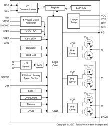
The DRV10983-Q1 device is a 3-phase sensorless motor driver with integrated power MOSFETs, which can provide continuous drive current up to 2 A. The device is specifically designed for cost-sensitive, low-noise, low-external-component-count fan and pump applications.

The DRV10983-Q1 device preserves register setting down to 4.5 V and delivers current to the motor with supply voltage as low as 6.2 V. If the power supply voltage is higher than 28 V, the device stops driving the motor and protects the DRV10983-Q1 circuitry. This function is able to handle a load dump condition up to 45 V.

TI provides DRV10983-Q1 tuning Guide for quick setup and tuning of the device for optimal performance.

* Device Options: * DRV10983Q: Sleep Version * DRV10983SQ: Standby Version The DRV10983-Q1 device uses a proprietary sensorless control scheme to provide continuous sinusoidal drive, which significantly reduces the pure tone acoustics that typically occur as a result of commutation. The interface to the device is designed to be simple and flexible. The motor can be controlled directly through PWM, analog, or I2C inputs. Motor speed feedback is available through both the FG pin and the I2C interface simultaneously.

The DRV10983-Q1 device features an integrated buck regulator to step down the supply voltage efficiently to 5 V for powering both internal and external circuits. The 3.3-V LDO also may be used to provide power for external circuits. The device is available in either a sleep mode or a standby mode version to conserve power when the motor is not running. The standby mode (8.5 mA) version (DRV10983SQ) leaves the regulator running and the sleep mode (48 µA) version (DRV10983Q) shuts the regulator off. Use the standby mode version in applications where the regulator is used to power an external microcontroller. Throughout this data sheet, the DRV10983-Q1 part number is used for both devices for example DRV10983Q (sleep version) and DRV10983SQ (standby version), except for specific discussions of sleep vs standby functionality.

An I2C interface allows the user to reprogram specific motor parameters in registers and to program the EEPROM to help optimize the performance for a given application. The DRV10983-Q1 device is available in a thermally-efficient HTSSOP, 24-pin package with an exposed thermal pad. The operating ambient temperature is specified from –40°C to 125°C.

Elecena nie prowadzi sprzedaży elementów elektronicznych, ani w niej nie pośredniczy.

Produkt pochodzi z oferty sklepu