Stellaris LM3S Microcontroller
Texas Instruments
RSS
Sample
- Darmowa próbka
- MPN:
- LM3S1150
- Producent:
- TEXAS INSTRUMENTS
- Dodany do bazy:
- Ostatnio widziany:
Sugerowane produkty dla or16
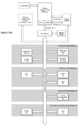
The Stellaris® LM3S1150 microcontroller is based on the ARM® Cortex™-M3 controller core operating at up to 50 MHz, with 64 kB flash and 16 kB SRAM. The LM3S1150 also features real-time industrial connectivity, with 2 SSI / SPI controllers, an I2C interface, and 3 UARTs. The LM3S1150 microcontroller also features advanced motion control features, including 6 motion-control PWM outputs with dead-band, a quadrature encoder input for precise position monitoring, and a fault protection input for low-latency shutdown. Finally, the LM3S1150 microcontroller provides a 24-bit systick timer, 4 32-bit or 8 16-bit general-purpose timers, a watchdog timer, a battery-backed hibernation module with RTC and 256 bytes of non-volatile state-saving memory, a low drop-out voltage regulator so that only one supply voltage is required, brown-out reset, power-on reset controller, and up to 52 GPIOs.
Elecena nie prowadzi sprzedaży elementów elektronicznych, ani w niej nie pośredniczy.
Produkt pochodzi z oferty sklepu Texas Instruments