Stellaris LM3S Microcontroller
Texas Instruments
RSS
Sample
- Darmowa próbka
- MPN:
- LM3S2110
- Producent:
- TEXAS INSTRUMENTS
- Dodany do bazy:
- Ostatnio widziany:
Sugerowane produkty dla or16
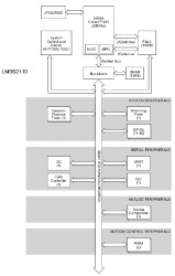
The Stellaris® LM3S2110 microcontroller is based on the ARM® Cortex™-M3 controller core operating at up to 25 MHz, with 64 kB flash and 16 kB SRAM. The LM3S2110 also features real-time industrial connectivity, with a CAN controller, an SSI / SPI controller, an I2C interface, and a UART. The LM3S2110 microcontroller also features advanced motion control features, including 2 motion-control PWM outputs with dead-band and 1 fault protection inputs for low-latency shutdown. Finally, the LM3S2110 microcontroller provides a 24-bit systick timer, 3 32-bit or 6 16-bit general-purpose timers, a watchdog timer, a low drop-out voltage regulator so that only one supply voltage is required, brown-out reset, power-on reset controller, and up to 40 GPIOs.
Elecena nie prowadzi sprzedaży elementów elektronicznych, ani w niej nie pośredniczy.
Produkt pochodzi z oferty sklepu Texas Instruments