Stellaris LM3S Microcontroller
Texas Instruments
RSS
Sample
Przejdź do sklepu »
- Darmowa próbka
- MPN:
- LM3S800
- Producent:
- TEXAS INSTRUMENTS
- Dodany do bazy:
- Ostatnio widziany:
Sugerowane produkty dla or16
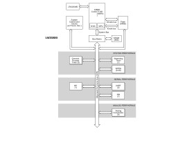
The Stellaris® LM3S800 microcontroller is based on the ARM® Cortex™-M3 controller core operating at up to 50 MHz, with 64 kB flash and 8 kB SRAM. The LM3S800 also features real-time industrial connectivity, with an SSI / SPI controller, an I2C interface, and 2 UARTs. Finally, the LM3S800 microcontroller provides a 24-bit systick timer, 3 32-bit or 6 16-bit general-purpose timers, a watchdog timer, a low drop-out voltage regulator so that only one supply voltage is required, brown-out reset, power-on reset controller, and up to 36 GPIOs.
Elecena nie prowadzi sprzedaży elementów elektronicznych, ani w niej nie pośredniczy.
Produkt pochodzi z oferty sklepu Texas Instruments