Automotive multiphase 4MHz, 3A/1.0V + 3A/1.0V + 2.5A/1.8V + 1.5A/1.2V buck converters for AWR MMICs
Texas Instruments
RSS
Sample
- Darmowa próbka
- MPN:
- LP87524P-Q1
- Producent:
- TEXAS INSTRUMENTS
- Dodany do bazy:
- Ostatnio widziany:
Sugerowane produkty dla lp87524
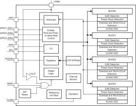
The LP87524B/J/P-Q1 is designed to meet the power management requirements of the latest processors and platforms in various automotive power applications. The device contains four step-down DC-DC converter cores, which are configured as 4 single phase outputs. The device is controlled by an I2C-compatible serial interface and by enable signals.
The automatic PFM/PWM (AUTO mode) operation maximizes efficiency over a wide output-current range. The LP87524B/J/P-Q1 supports remote voltage sensing to compensate IR drop between the regulator output and the point-of-load (POL) thus improving the accuracy of the output voltage. In addition the switching clock can be forced to PWM mode and also synchronized to an external clock to minimize the disturbances.
The LP87524B/J/P-Q1 device supports load-current measurement without the addition of external current-sense resistors. In addition, the LP87524B/J/P-Q1 supports programmable start-up and shutdown delays and sequences synchronized to enable signals. The sequences can also include GPIO signals to control external regulators, load switches and processor reset. During start-up and voltage change, the device controls the output slew rate to minimize output voltage overshoot and the in-rush current.
Elecena nie prowadzi sprzedaży elementów elektronicznych, ani w niej nie pośredniczy.
Produkt pochodzi z oferty sklepu Texas Instruments