elecena.pl

Dual buck converter and 5-V boost with diagnostic functions

Texas Instruments

Dual buck converter and 5-V boost with diagnostic functions RSS Sample
  • Darmowa próbka
MPN:
LP87702-Q1
Producent:
TEXAS INSTRUMENTS
Dodany do bazy:
Ostatnio widziany:

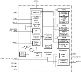
The LP87702-Q1helps meet the power management requirements of the latest platforms, particularly in automotive radar and camera and industrial radar applications. The device contains two step-down DC/DC converters, and a 5-V boost converter to support safety critical applications. The device integrates two voltage monitoring inputs for external power supplies and a window watchdog.

The automatic PWM/PFM (AUTO mode) operation gives high efficiency over a wide output current range for buck converters. The LP87702-Q1 uses remote voltage sensing to compensate IR drop between the converter output and the point-of-load, thus improving the accuracy of the output voltage.

Programmable start-up and shutdown sequences synchronized to the enable signal are supported, including general purpose digital outputs.

During start-up and voltage change, the device controls the output slew rate for minimum output voltage overshoot and inrush current. This device contains one-time-programmable (OTP) memory. Each orderable part number has specific OTP settings for a given application. Details of the default OTP configuration for each orderable part number can be found in the technical reference manual.

Elecena nie prowadzi sprzedaży elementów elektronicznych, ani w niej nie pośredniczy.

Produkt pochodzi z oferty sklepu