elecena.pl

Single, 36-V, low power, all-purpose amplifier with mux-friendly input

Texas Instruments

Single, 36-V, low power, all-purpose amplifier with mux-friendly input RSS Sample
  • Darmowa próbka
MPN:
OPA196
Producent:
TEXAS INSTRUMENTS
Dodany do bazy:
Ostatnio widziany:

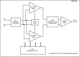
The OPAx196 family (OPA196, OPA2196, and OPA4196) is a new generation of 36-V, rail-to-rail e-trim™ operational amplifiers (op amps).

These devices offer very low offset voltage (±25 µV, typical), drift (±0.5 µV/°C, typical), and low bias current (±5 pA, typical) combined with very low quiescent current (140 µA/channel, typical) across the entire output range.

Unique features, such as differential input-voltage range to the supply rail, high output current (±65 mA), and high capacitive load drive of up to 1 nF make the OPAx196 a robust, high-performance operational amplifier for high-voltage industrial applications.

The OPAx196 family of op amps is available in standard packages and is specified from –40°C to +125°C.

Elecena nie prowadzi sprzedaży elementów elektronicznych, ani w niej nie pośredniczy.

Produkt pochodzi z oferty sklepu