elecena.pl

Triple 10-bit 180-MSPS graphics and video DAC

Texas Instruments

Triple 10-bit 180-MSPS graphics and video DAC RSS Sample
  • Darmowa próbka
MPN:
THS8136
Producent:
TEXAS INSTRUMENTS
Dodany do bazy:
Ostatnio widziany:

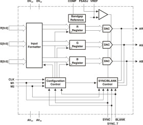
The THS8136 is a general-purpose triple high-speed digital-to-analog (D/A) converter optimized for use in video/graphics applications. The device operates from 3.3-V analog and 1.8-V digital supplies with D/A converter performance assured at sampling rates up to 180 MHz. The THS8136 consists of three 10-bit D/A converters and additional circuitry for bi-level sync and blanking level generation. The current-steering DACs have been specifically designed to produce standard video output levels when directly connected to a single-ended double-terminated 75-Ω coaxial cable.

By providing a dc offset in sync insertion mode, the THS8136 can generate a bi-level sync on the AG DAC output without sacrificing DAC resolution. Support is also provided for insertion of RGB or YPbPr reference or blanking levels, irrespective of the DAC input codes. A generic DAC mode is provided for applications not requiring sync generation. All digital inputs are 1.8-V compatible.

Elecena nie prowadzi sprzedaży elementów elektronicznych, ani w niej nie pośredniczy.

Produkt pochodzi z oferty sklepu