elecena.pl

16-channel, 16-bit ES-PWM constant-current LED driver with 48 multiplexing

Texas Instruments

16-channel, 16-bit ES-PWM constant-current LED driver with 48 multiplexing RSS Sample
  • Darmowa próbka
MPN:
TLC6948
Producent:
TEXAS INSTRUMENTS
Dodany do bazy:
Ostatnio widziany:

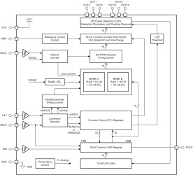
In high-density, fine-pitch LED panel applications, the performance demand for multi-channel LED drivers is increasing to achieve high multiplexing, high PWM resolution, and high refresh rates. To meet strict display quality requirements, the LED drivers must have the ability to solve various issues in different LED-matrix application scenarios.

The TLC694x device is a 16-channel, constant-current-sink LED driver. Each channel has an individually adjustable 65,536 steps of PWM grayscale control. The maximum constant-current value of all 16 channels is set by a single external resistor with 128 steps of global brightness control from 0.3 mA to 25 mA.

The TLC694x device integrates enhanced circuits to solve the various display issues in fine-pitch LED display applications: the low-grayscale uniformity issue, coupling issue, ghosting issue, and caterpillar issue.

The TLC694x device features an LED-open detection function, and the error detection results can be read via a serial data interface port. Thermal shutdown and IREF resistor short protection ensure a higher system reliability. The TLC694x device also has an smart power-save mode that sets the total current consumption to 1 mA (typical) when all outputs are off.

Elecena nie prowadzi sprzedaży elementów elektronicznych, ani w niej nie pośredniczy.

Produkt pochodzi z oferty sklepu