elecena.pl

14-V output voltage non-synchronous boost converter in SOT-23 package

Texas Instruments

14-V output voltage non-synchronous boost converter in SOT-23 package RSS Sample
  • Darmowa próbka
MPN:
TLV61048
Producent:
TEXAS INSTRUMENTS
Dodany do bazy:
Ostatnio widziany:

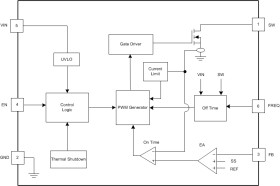
The TLV61048 is a non-synchronous boost converter that provides a power-supply solution for products powered by a low-voltage super capacitor and a single-cell Li-ion battery. The TLV61048 integrates a power switch with 3.7-A typical current limit to extend the discharge capability of the input source without sacrificing maximal load delivery.

The TLV61048 could be configured at 600 kHz for higher efficiency or 1 MHz for smaller inductor and output capacitor. At the light load, the device enters into the PFM operation to achieve higher efficiency. The TLV61048 has built-in 2-ms soft start to minimize the inrush current.

The TLV61048 is available in a 2.9-mm × 1.6-mm 6-pin SOT-23 package.

Elecena nie prowadzi sprzedaży elementów elektronicznych, ani w niej nie pośredniczy.

Produkt pochodzi z oferty sklepu