elecena.pl

4-Port SuperSpeed 5.0 Gbps USB 3.1 Hub with HID to I2C

Texas Instruments

4-Port SuperSpeed 5.0 Gbps USB 3.1 Hub with HID to I2C RSS Sample
  • Darmowa próbka
MPN:
TUSB8043
Producent:
TEXAS INSTRUMENTS
Dodany do bazy:
Ostatnio widziany:

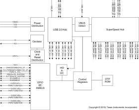
The TUSB8043 is a four-port USB 3.1 Gen1 hub. It provides simultaneous SuperSpeed USB and high-speed/full-speed connections on the upstream port and provides SuperSpeed USB, high-speed, full-speed, or low-speed connections on the downstream ports. When the upstream port is connected to an electrical environment that only supports high-speed or full-speed/low-speed connections, SuperSpeed USB connectivity is disabled on the downstream ports.

When the upstream port is connected to an electrical environment that only supports full-speed/low-speed connections, SuperSpeed USB and high-speed connectivity are disabled on the downstream ports.

The TUSB8043 supports per port or ganged power switching and over-current protection, and supports battery charging applications.

An individually port power controlled hub switches power on or off to each downstream port as requested by the USB host. Also when an individually port power controlled hub senses an over-current event, only power to the affected downstream port will be switched off.

A ganged hub switches on power to all its downstream ports when power is required to be on for any port. The power to the downstream ports is not switched off unless all ports are in a state that allows power to be removed. Also when a ganged hub senses an over-current event, power to all downstream ports will be switched off.

The TUSB8043 downstream ports provide support for battery charging applications by providing Battery Charging Downstream Port (CDP) handshaking support. It also supports a Dedicated Charging Port (DCP) mode when the upstream port is not connected. The DCP mode supports USB devices which support with the USB Battery Charging, Galaxy Charging, and Chinese Telecommunications Industry Standard YD/T 1591-2009. In addition when upstream port is unconnected, the TUSB8043 supports the divider charging port modes (ACPx modes) and an automatic transition through all modes, starting with ACP3 and ending in DCP.

The TUSB8043 provides pin strap configuration for some features including battery charging support, and also provides customization though OTP ROM, I2C EEPROM, or via an I2C/SMBus slave interface for PID, VID, and custom port and phy configurations. Custom string support is also available when using an I2C EEPROM or the I2C/SMBus slave interface.

The TUSB8043 supports programming of an attached EEPROM through its internal USB HID to I2C interface.

The device is available in a 64-pin RGC package and is offered in a commercial version for operation over the temperature range of 0°C to 70°C.

Elecena nie prowadzi sprzedaży elementów elektronicznych, ani w niej nie pośredniczy.

Produkt pochodzi z oferty sklepu