24 Channel Digital I/O
Analog Devices
RSS
Sample
Przejdź do sklepu »
- Darmowa próbka
- MPN:
- 6B50
- Producent:
- ANALOG DEVICES
- Dodany do bazy:
- Ostatnio widziany:
Sugerowane produkty dla modularity
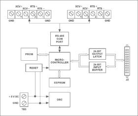
The 6B Series of modules and boards provides the hardware needed to implement a flexible, distributed monitoring and control application. By selecting only the modules and interfaces needed and connecting them via RS-485, the data acquisition and control strategy can be designed for optimum location of the I/O as well as minimizing sensor runs. The modularity and configurability of the 6B Series also makes them very cost effective.
* 24 Channel Digital I/O
* RS-485 Interface or RS232 Versions
Elecena nie prowadzi sprzedaży elementów elektronicznych, ani w niej nie pośredniczy.
Produkt pochodzi z oferty sklepu Analog Devices