3 V, Dual Sigma-Delta ADC with Auxiliary DAC
Analog Devices
RSS
Sample
Przejdź do sklepu »
- Darmowa próbka
- MPN:
- AD7729
- Producent:
- ANALOG DEVICES
- Dodany do bazy:
- Ostatnio widziany:
- Zmiana ceny:
- -100% (22.01.2025)
- Poprzednia cena:
- 15.59
Sugerowane produkty dla is270
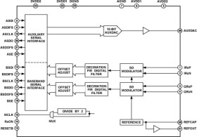
This monolithic 3 V CMOS device is a low power, two-channel, input port with signal conditioning. The receive path is composed of two, high-performance sigma-delta ADCs with digital filtering. A common bandgap reference feeds the ADCs. A control DAC is included for such functions as AGC. The auxiliary functions can be accessed via the auxiliary port (ASPORT). The maximum output word rate is 270 kHz.
The device is available in a 28-pin TSSOP package and a 28-pin SOIC package.
* +3 V Supply Voltage * Baseband Serial Port (BSPORT) * Differential IRx and QRx * Auxiliary D/A Converter
Elecena nie prowadzi sprzedaży elementów elektronicznych, ani w niej nie pośredniczy.
Produkt pochodzi z oferty sklepu Analog Devices