MIPI/DSI Receiver with HDMI Transmitter
Analog Devices
RSS
Sample
- Darmowa próbka
- MPN:
- ADV7533
- Producent:
- ANALOG DEVICES
- Dodany do bazy:
- Ostatnio widziany:
Sugerowane produkty dla adv7533
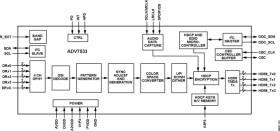
The ADV7533 is a multifunction video interface chip. The ADV7533 provides a mobile industry processor interface/display serial interface (MIPI®/DSI) input port, a high definition multimedia interface (HDMI®) data output in a 49-ball wafer level chip scale package (WLCSP). The display serial interface (DSI) input provides up to four lanes of MIPI/DSI data, each running up to 800 Mbps. The DSI Rx implements DSI video mode operation only. The HDMI Tx supports video resolutions using pixel clocks of up to 80 MHz.
With the optional inclusion of embedded HDCP keys, the ADV7533 allows the secure transmission of protected content, as specified by the HDCP 1.3 protocol.
The ADV7533 supports x.v.Color™ (gamut metadata) for a wider color gamut.
The ADV7533 supports both S/PDIF and 2-channel I2S audio. Its high fidelity 2-channel I2S can transmit stereo up to a 192 kHz sampling rate. The S/PDIF can carry stereo LPCM audio or compressed audio, including Dolby® Digital and DTS®.
The ADV7533 helps to reduce system design complexity and cost by incorporating such features as an I2C master for EDID reading and 5 V tolerance on the I2C and Hot Plug™ detect pins.
Fabricated in an advanced CMOS process, the ADV7533 is available in a space saving, 49-ball, WLCSP surface mount package. This package is RoHS compliant and specified to operate from −10°C to +85°C.
APPLICATIONS
* Mobile systems
* Cellular handsets
* Digital video cameras
* Digital still cameras
* Personal media players
* Gaming
* Low power MIPI/DSI receiver
* Low power HDMI/DVI transmitter ideal for portable applications
* 2-, 3-, or 4-lane DSI receiver
* Supports up to 800 Mbps per lane
* 80 MHz operation supports all video and graphics resolutions from 480i to 1080p at 30 Hz
* Programmable 2-way color space converter
Elecena nie prowadzi sprzedaży elementów elektronicznych, ani w niej nie pośredniczy.
Produkt pochodzi z oferty sklepu Analog Devices