elecena.pl

Complete 16-Bit CCD/CIS Signal Processor

Analog Devices

Complete 16-Bit CCD/CIS Signal Processor RSS Sample
  • Darmowa próbka
MPN:
AD80066
Producent:
ANALOG DEVICES
Dodany do bazy:
Ostatnio widziany:

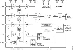
The AD80066 is a complete analog signal processor for imaging applications. It features a 4-channel architecture designed to sample and condition the outputs of linear charged coupled device (CCD) or contact image sensor (CIS) arrays. Each channel consists of an input clamp, correlated double sampler (CDS), offset digital-to-analog converter (DAC), and programmable gain amplifier (PGA), multiplexed to a high performance 16-bit ADC. For maximum flexibility, the AD80066 can be configured as a 4-channel, 3-channel, 2-channel, or 1-channel device.

The CDS amplifiers can be disabled for use with sensors that do not require CDS, such as CIS and CMOS sensors.

The 16-bit digital output is multiplexed into an 8-bit output word, which is accessed using two read cycles. There is an optional single-byte output mode. The internal registers are programmed through a 3-wire serial interface and enable adjustment of the gain, offset, and operating mode. The AD80066 operates from a 5 V power supply, typically consumes 490 mW of power, and is packaged in a 28-lead SSOP.

APPLICATIONS

* Flatbed document scanners

* Film scanners

* Digital color copiers

* Multifunction peripherals

* 16-bit, 24 MSPS analog-to-digital converter (ADC)

* 4-channel operation up to 24 MHz (6 MHz/channel)

* Selectable input range: 3 V or 1.5 V peak-to-peak

* 1×~6× programmable gain

Elecena nie prowadzi sprzedaży elementów elektronicznych, ani w niej nie pośredniczy.

Produkt pochodzi z oferty sklepu