elecena.pl

Low Power Blackfin Processor with Advanced Peripherals and Low Standby Power

Analog Devices

Low Power Blackfin Processor with Advanced Peripherals and Low Standby Power RSS Sample
  • Darmowa próbka
MPN:
ADSP-BF526
Producent:
ANALOG DEVICES
Dodany do bazy:
Ostatnio widziany:
Zmiana ceny:
-100% (19.01.2025)
Poprzednia cena:
15.51

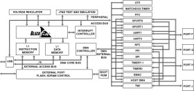
The high performance 16/32-bit Blackfin embedded processor core, the flexible cache architecture, the enhanced DMA subsystem, and the dynamic power management (DPM) functionality allow system designers a flexible platform to address a wide range of portable applications, including consumer, communications and industrial/instrumentation.

With the combination of peripherals which enable glue-less connectivity to networked devices such as Ethernet or WiFi 802.11 a/b/g modules and power efficient signal processing, the ADSP-BF526 is well suited to IP connected applications such as VoIP Phone or IP Camera.

The VoIP challenge to the embedded-system designer is to choose a processing solution that is cost-effective, easy to deploy and scaleable in performance across market spaces. A “sweet spot” embedded-solution approach is to design with a platform that can implement a low channel count basic VoIP solution, yet retain sufficient capacity for value added capabilities and services – such as video, music, imaging and system control. Unlike traditional VoIP embedded solutions that utilize two processor cores to provide VoIP functionality, the ADSP-BF526 provides a convergent solution in a unified core architecture that allows voice and video signal processing concurrent with RISC MCU processing to handle network and user-interface demands. This unique ability to offer full VoIP functionality on a single convergent processor provides for a unified software development environment, faster system debugging and deployment, and lower overall system cost.

IP protection has become a necessary part of today’s embedded computing applications. The ADSP-BF526 provides a security scheme which balances flexibility and upgradeability with performance through the inclusion of a firmware-based solution including OTP (One Time Programmable) memory to enable users to implement private keys for secure access to program code.

* Lockbox™ Secure Technology: Hardware-enabled security for code and content protection.

* Blackfin Processor Core with up to 400 MHz (800 MMACS) performance

* 2 dual-channel, full-duplex synchronous serial ports supporting 8 stereo I2S channels

* 12 peripheral DMA channels supporting one- and two-dimensional data transfers

* NAND Flash Controller with 8-Bit interface for commands, addresses and data.

* Ethernet 10/100 MII interface

Elecena nie prowadzi sprzedaży elementów elektronicznych, ani w niej nie pośredniczy.

Produkt pochodzi z oferty sklepu