Digital Video Encoder with Macrovision with Anticopy Circuitry
Analog Devices
RSS
Sample
- Darmowa próbka
- MPN:
- ADV7175A
- Producent:
- ANALOG DEVICES
- Dodany do bazy:
- Ostatnio widziany:
Sugerowane produkty dla bt601
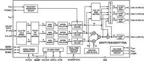
The ADV7175A/ADV7176A is an integrated digital video encoder that converts Digital CCIR-601 4:2:2 8 or 16-bit component video data into a standard analog baseband television signal compatible with worldwide standards. The 4:2:2 YUV video data is interpolated to two times the pixel rate. The color-difference components (UV) are quadrature modulated using a subcarrier frequency generated by an on-chip 32-bit digital synthesizer (also running at two times the pixel rate). The two times pixel rate sampling allows for better signal-to-noise- ratio. A 32-bit DDS with a 10-bit look-up table produces a superior subcarrier in terms of both frequency and phase. In addition to the composite output signal, there is the facility to output S-Video (Y/C) video, YUV or RGB video. The Y/C, YUV or RGB format is simultaneously available at the analog outputs with the composite video signal.
* ITU-R BT601/656 YCrCb to PAL/NTSC Video Encoder * High Quality 10-Bit Video DACs * Integral Nonlinearity <1 LSB at 10 Bits * NTSC-M, PAL-M/N, PAL-B/D/G/H/I * Single 27 MHz Clock Required (×2 Oversampling) * 80 dB Video SNR
Elecena nie prowadzi sprzedaży elementów elektronicznych, ani w niej nie pośredniczy.
Produkt pochodzi z oferty sklepu Analog Devices