elecena.pl

4-Channel/8-Channel Fault-Protected Analog Multiplexers

Analog Devices

4-Channel/8-Channel Fault-Protected Analog Multiplexers RSS Sample
  • Darmowa próbka
MPN:
ADG528F
Producent:
ANALOG DEVICES
Dodany do bazy:
Ostatnio widziany:
Zmiana ceny:
-100% (18.01.2025)
Poprzednia cena:
7.96

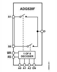
The ADG528F is a CMOS analog multiplexer, with the comprising eight single channels. The multiplexer provides fault protection. Using a series n-channel, p-channel, n-channel MOSFET structure, both device and signal source protection is provided in the event of an overvoltage or power loss. The multiplexer can withstand continuous overvoltage inputs from -40 V to +55 V. During fault conditions, the multiplexer input (or output) appears as an open circuit and only a few nanoamperes of leakage current will flow. This protects not only the multiplexer and the circuitry driven by the multiplexer, but also protects the sensors or signal sources which drive the multiplexer.

The ADG528F switch one of eight inputs to a common output as determined by the 3-bit binary address lines A0, A1 and A2. The ADG528F has on-chip address and control latches that facilitate microprocessor interfacing. An EN input on each device is used to enable or disable the device. When disabled, all channels are switched OFF.

PRODUCT HIGHLIGHTS

* Fault protection. The ADG528F can withstand continuous voltage inputs

from −40 V to +55 V. When a fault occurs due to the

power supplies being turned off, all the channels are turned off and only a leakage current of a few nanoamperes flows.

* On channel turns off while fault exists.

* Low RON.

* Fast switching times.

* Break-before-make switching. Switches are guaranteed break-before-make so that input signals are protected against momentary shorting.

* Trench isolation eliminates latch-up. A dielectric trench separates the p-channel and n-channel

MOSFETs thereby preventing latch-up.

APPLICATIONS

* Existing multiplexer applications (both fault-protected and

nonfault-protected)

* New designs requiring multiplexer functions

* Low on resistance (300 Ω typical)

* Fast Switching Times

ton 250 ns max

toff 250 ns max

* Low Power Dissipation (3.3 mW Max)

* Fault and overvoltage protection (- 40 V to + 55 V)

Elecena nie prowadzi sprzedaży elementów elektronicznych, ani w niej nie pośredniczy.

Produkt pochodzi z oferty sklepu