Industrial temperature, 10/100-Mbps Ethernet PHY transceiver in a 40-pin QFN package
Texas Instruments
RSS
Sample
- Darmowa próbka
- MPN:
- DP83848K
- Producent:
- TEXAS INSTRUMENTS
- Dodany do bazy:
- Ostatnio widziany:
Sugerowane produkty dla dp83848x
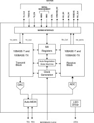
The DP83848x device addresses the quality, reliability and small form factor required for space sensitive applications in embedded systems.
The DP83848x offers performance far exceeding the IEEE specifications, with superior interoperability and industry leading performance beyond 137 meters of Cat-V cable. The DP83848x also offers Auto-MDIX to remove cabling complications. DP83848x has superior ESD protection, greater than 4 kV Human Body Model, providing extremely high reliability and robust operation, ensuring a high-level performance in all applications.
DP83848J/K offers two flexible LED indicators one for Link and the other for Speed. In addition, both MII and RMII are supported ensuring ease and flexibility of design.
The DP83848H/M/T incorporates a 25-MHz clock out that eliminates the need and hence the space and cost, of an additional clock source component.
The DP83848x is offered in small 6-mm × 6-mm WQFN 40-pin package and is ideal for industrial controls, building/factory automation, transportation, test equipment and wire-less base stations.
Elecena nie prowadzi sprzedaży elementów elektronicznych, ani w niej nie pośredniczy.
Produkt pochodzi z oferty sklepu Texas Instruments