Industrial temperature, dual-port 10/100-Mbps Ethernet PHY transceiver with flexible port switchi
Texas Instruments
RSS
Sample
- Darmowa próbka
- MPN:
- DP83849I
- Producent:
- TEXAS INSTRUMENTS
- Dodany do bazy:
- Ostatnio widziany:
Sugerowane produkty dla dp83849
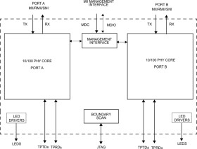
The number of applications requiring Ethernet Connectivity continues to expand. Along with this increased market demand is a change in application requirements. Where single channel Ethernet used to be sufficient, many applications such as wireless remote base stations and industrial networking now require DUAL Port functionality for redundancy or system management.
The DP83849I is a highly reliable, feature rich device perfectly suited for industrial applications enabling Ethernet on the factory floor. The DP83849I features two fully independent 10/100 ports for multi-port applications. The unique port switching capability also allows the two ports to be configured to provide fully integrated range extension, media conversion, hardware based failover and port monitoring.
The DP83849I provides optimum flexibility in MPU selection by supporting both MII and RMII interfaces. In addition this device includes a powerful new diagnostics tool to ensure initial network operation and maintenance.
In addition to the TDR scheme, commonly used for detecting faults during installation, the innovative cable diagnostics provides for real time continuous monitoring of the link quality. This allows the system designer to implement a fault prediction mechanism to detect and warn of changing or deteriorating link conditions.
The DP83849I continues to build on its Ethernet expertise and leadership position by providing a powerful combination of features and flexibility, easing Ethernet implementation for the system designer.
Elecena nie prowadzi sprzedaży elementów elektronicznych, ani w niej nie pośredniczy.
Produkt pochodzi z oferty sklepu Texas Instruments