elecena.pl

20 W Power, 2.3 V to 5.5 V, 75 MH Complete DDS

Analog Devices

20 W Power, 2.3 V to 5.5 V, 75 MH Complete DDS RSS Sample
  • Darmowa próbka
MPN:
AD9834
Producent:
ANALOG DEVICES
Dodany do bazy:
Ostatnio widziany:
Zmiana ceny:
-100% (19.01.2025)
Poprzednia cena:
7.28

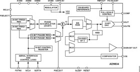
The AD9834 is a 75 MHz low power DDS device capable of producing high performance sine and triangular outputs. It also has an on-board comparator that allows a square wave to be produced for clock generation. Consuming only 20 mW of power at 3 V makes the AD9834 an ideal candidate for power-sensitive applications.

Capability for phase modulation and frequency modulation is provided. The frequency registers are 28 bits; with a 75 MHz clock rate, resolution of 0.28 Hz can be achieved. Similarly, with a 1 MHz clock rate, the AD9834 can be tuned to 0.004 Hz resolution. Frequency and phase modulation are affected by loading registers through the serial interface and toggling the registers using software or the FSELECT pin and PSELECT pin, respectively.

The AD9834 is written to using a 3-wire serial interface. This serial interface operates at clock rates up to 40 MHz and is compatible with DSP and microcontroller standards.

The device operates with a power supply from 2.3 V to 5.5 V. The analog and digital sections are independent and can be run from different power supplies, for example, AVDD can equal 5 V with DVDD equal to 3 V.

The AD9834 has a power-down pin (SLEEP) that allows external control of the power-down mode. Sections of the device that are not being used can be powered down to minimize the current consumption. For example, the DAC can be powered down when a clock output is being generated.

The part is available in a 20-lead TSSOP.

APPLICATIONS

* Frequency stimulus/waveform generation

* Frequency phase tuning and modulation

* Low power RF/communications systems

* Liquid and gas flow measurement

* Sensory applications: proximity, motion, and defect detection

* Test and medical equipment

* Narrow-band SFDR >72 dB

* 2.3 V to 5.5 V power supply

* Output frequency up to 37.5 MHz

* Sine output/triangular output

Elecena nie prowadzi sprzedaży elementów elektronicznych, ani w niej nie pośredniczy.

Produkt pochodzi z oferty sklepu