elecena.pl

Multisupply Supervisor/Sequencer with ADC and Temperature Monitoring

Analog Devices

Multisupply Supervisor/Sequencer with ADC and Temperature Monitoring RSS Sample
  • Darmowa próbka
MPN:
ADM1063
Producent:
ANALOG DEVICES
Dodany do bazy:
Ostatnio widziany:
Zmiana ceny:
-100% (22.01.2025)
Poprzednia cena:
11.60

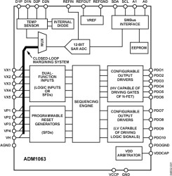
The ADM1063 is a configurable supervisory/sequencing device that offers a single-chip solution for supply monitoring and sequencing in multiple supply systems. In addition to these functions, the ADM1063 integrates a 12-bit ADC that can be used to accurately read back up to 12 separate voltages.

The device also provides up to 10 programmable inputs for monitoring under, over, or out-of-window faults on up to 10 supplies. In addition, 10 programmable outputs can be used as logic enables. Six of these programmable outputs can provide up to a 12 V output for driving the gate of an n-FET that can be placed in the path of a supply.

Applications

* Central office systems

* Servers/routers

* Multivoltage system line cards

* DSP/FPGA supply sequencing

* In-circuit testing of margined supplies

* Complete supervisory and sequencing solution for up to 10 supplies

* 10 supply fault detectors enable supervision of supplies to

* <0.5% accuracy at all voltages at 25°C

* <1.0% accuracy across all voltages and temperatures

* 5 selectable input attenuators allow supervision of supplies to

* 14.4 V on VH

* 6 V on VP1 to VP4 (VPx)

* See data sheet for additional features

Elecena nie prowadzi sprzedaży elementów elektronicznych, ani w niej nie pośredniczy.

Produkt pochodzi z oferty sklepu