elecena.pl

Low Capacitance, 8-Channel, ±15 V/+12 V CMOS Multiplexer

Analog Devices

Low Capacitance, 8-Channel, ±15 V/+12 V CMOS Multiplexer RSS Sample
  • Darmowa próbka
MPN:
ADG1207
Producent:
ANALOG DEVICES
Dodany do bazy:
Ostatnio widziany:
Zmiana ceny:
-100% (17.01.2025)
Poprzednia cena:
5.29

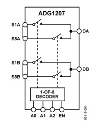
The ADG1206 and ADG1207 are monolithic iCMOS® analog multiplexers comprising sixteen single channels and eight differential channels, respectively. The ADG1206 switches one of sixteen inputs to a common output, as determined by the 4-bit binary address lines A0, A1, A2, and A3. The ADG1207 switches one of eight differential inputs to a common differential output, as determined by the 3-bit binary address lines A0, A1, and A2. An EN input on both devices is used to enable or disable the device. When disabled, all channels are switched off. When on, each channel conducts equally well in both directions and has an input signal range that extends to the supplies.

The industrial CMOS (iCMOS) modular manufacturing process combines high voltage complementary metal-oxide semiconductor (CMOS) and bipolar technologies. It enables the development of a wide range of high performance analog ICs capable of 33 V operation in a footprint that no other generation of high voltage devices has been able to achieve. Unlike analog ICs using conventional CMOS processes, iCMOS components can tolerate high supply voltages while providing increased performance, dramatically lower power consumption, and reduced package size.

The ultralow capacitance and exceptionally low charge injection of these multiplexers make them ideal solutions for data acquisition and sample-and-hold applications, where low glitch and fast settling are required. There is minimum charge injection over the entire signal range of the device. iCMOS construction also ensures ultralow power dissipation, making the devices ideally suited for portable and battery-powered instruments.

Applications

* Audio and video routing

* Automatic test equipment

* Data acquisition systems

* Battery-powered systems

* Sample-and-hold systems

* Communication systems

* <1 pC charge injection over full signal range

* 1.5 pF off capacitance

* 33 V supply range

* 120 Ω on resistance

* Fully specified at ±15 V/+12 V

* 3 V logic-compatible inputs

* Rail-to-rail operation

* Break-before-make switching action

* 28-lead TSSOP and 32-lead, 5 mm × 5 mm LFCSP

Elecena nie prowadzi sprzedaży elementów elektronicznych, ani w niej nie pośredniczy.

Produkt pochodzi z oferty sklepu