elecena.pl

20-/28-Pin ROM MCU with IR Learning Amplification

Analog Devices

20-/28-Pin ROM MCU with IR Learning Amplification RSS Sample
  • Darmowa próbka
MPN:
ZLR644
Producent:
ANALOG DEVICES
Dodany do bazy:
Ostatnio widziany:

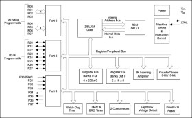
Maxim's ZLR64400 ROM MCU is a member of the Crimzon® family of infrared microcontrollers. It provides a directly compatible code upgrade path to other Crimzon MCUs, offers a robust learning function, and features up to 64KB ROM and 1004 bytes of general-purpose RAM. Two timers allow the generation of complex signals while performing other counting operations. A universal asynchronous receiver-transmitter (UART) allows the ZLR64400 MCU to be a slave/master database chip. When the UART is not in use, the baud-rate generator (BRG) can be used as a third timer. Enhanced stop-mode recovery (SMR) features allows the ZLR64400 MCU to awaken from stop mode on any change of logic and on any combination of the 12 SMR inputs. The SMR source can also be used as an interrupt source.

Many high-end remote control units offer a learning function. A learning function allows a replacement remote unit to learn most infrared signals from the original remote unit and regenerate the signal. However, the amplifying circuits of many learning remotes are expensive and are not tuned well. The ZLR64400 MCU is the first chip dedicated to solve this problem because it offers a built-in tuned amplification circuit in a wide range of positions and battery voltages. The only external component required is a photodiode.

The ZLR64400 MCU greatly reduces system cost, yet improves learning function reliability. With all new features, the ZLR64400 MCU is excellent for infrared remote control and other MCU applications.

Elecena nie prowadzi sprzedaży elementów elektronicznych, ani w niej nie pośredniczy.

Produkt pochodzi z oferty sklepu