3.3 Volt MicroMonitor Chip
Analog Devices
RSS
Sample
- Darmowa próbka
- MPN:
- DS1832
- Producent:
- ANALOG DEVICES
- Dodany do bazy:
- Ostatnio widziany:
- Zmiana ceny:
- -100% (19.01.2025)
- Poprzednia cena:
- 3.34
Sugerowane produkty dla ds1832
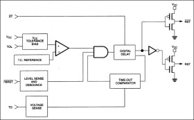
The DS1832 3.3-volt MicroMonitor Chip is pin-compatible with the industry-standard DS1232 and operates in both 3.0- and 3.3-volt environments. Like the DS1232, the DS1832 monitors power supply, software execution, and an external pushbutton override. It is designed with CMOS outputs and is capable of maintaining a valid output on the active low reset to 0 volts with a 100kΩ pull-down resistor. On power-up, the DS1832 holds reset for 250ms to allow the system to stabilize.
Moving a design from 5 volts to 3.3 volts can be as simple as substituting the DS1832 for the DS1232 and removing the pull-up resistor on the active low reset. This makes it a versatile, space- and cost-saving monitor for any processor-driven system requiring reliable operation.
* Power-fail detection
* Pushbutton reset
* Watchdog timer
* Active high and low resets
* Quiescent current less than 35µA
* Operating ranges:
* -40°C to +85°C
* 3.0V with 20% tolerance or
* 3.3V with 10% or 20% tolerance
Elecena nie prowadzi sprzedaży elementów elektronicznych, ani w niej nie pośredniczy.
Produkt pochodzi z oferty sklepu Analog Devices