elecena.pl

1-Wire Quad A/D Converter

Analog Devices

1-Wire Quad A/D Converter RSS Sample
  • Darmowa próbka
MPN:
DS2450
Producent:
ANALOG DEVICES
Dodany do bazy:
Ostatnio widziany:

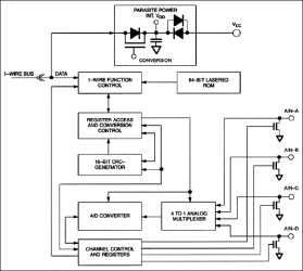
The DS2450 1-Wire® Quad A/D Converter is based on a successive-approximation analog to digital converter with a four to one analog multiplexer. Each input channel has its own register set to store the input voltage range, resolution, and alarm threshold values as well as flags to enable participation of the device in the conditional search if the input voltage leaves the specified range. Two alarm flags for each channel indicate if the voltage measured was too high or too low without requiring the bus master to do the comparison. Each A/D conversion is initiated by the bus master. A channel not used as analog input can serve as a digital open-drain output. After disabling the input the bus master can directly switch on or off the open-drain transistor at the selected channel. All device settings are stored in SRAM and kept non-volatile while the device gets power either through the 1-Wire bus or through its VCC pin. After powering up, a power-on reset flag signals the bus master the need to restore the device settings before the regular operation can resume. All device registers and conversion read-out registers are organized as three 8-byte memory pages similar to the Status Memory of a DS2505/6 device. An on-chip CRC16 generator protects the communication against transmission errors when reading through the end of a memory page as well as when writing individual bytes.

* Four high-impedance inputs to measure analog voltages over the 1-Wire bus

* User programmable input range (2.56V, 5.12V), resolution (1 to 16 bits) and alarm thresholds

* 5V, single supply operation

* Very low power: 2.5mW active, 25µW idle

* Built-in multidrop controller allows multiple DS2450's to be identified and operated on a common 1-Wire bus

* Responds to Conditional Search if the analog voltage crosses the alarm thresholds

* Channels not used as analog input can serve as open drain digital outputs for closed-loop control

* Directly connects to a single port pin of a microprocessor and communicates at up to 16.3k bits per second

* Overdrive mode boosts communication speed to 142k bits per second

* On-chip 16-bit CRC-generator for safeguarding data transfers

* Unique, factory-lasered and tested 64-bit registration number (8-bit family code + 48-bit serial number 8-bit CRC tester) assures absolute traceability because no two parts are alike

* 8-bit family code specifies device communication requirements to bus master

* Operating temperature range from -40°C to +85°C

* Compact, low cost 8-pin SOIC surface mount package

Elecena nie prowadzi sprzedaży elementów elektronicznych, ani w niej nie pośredniczy.

Produkt pochodzi z oferty sklepu