16Kb Add-Only Memory
Analog Devices
RSS
Sample
- Darmowa próbka
- MPN:
- DS2505
- Producent:
- ANALOG DEVICES
- Obudowa:
- TO-92
- Dodany do bazy:
- Ostatnio widziany:
- Zmiana ceny:
- -100% (19.01.2025)
- Poprzednia cena:
- 2.12
Sugerowane produkty dla ds2505
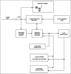
The DS2505 16Kb Add–Only Memory identifies and stores relevant information about the product to which it is associated. This lot or product specific information can be accessed with minimal interface, for example a single port pin of a microcontroller. The DS2505 consists of a factory-lasered registration number that includes a unique 48-bit serial number, an 8-bit CRC, and an 8-bit Family Code (0BH) plus 16Kb of user-programmable EPROM. The power to program and read the DS2505 is derived entirely from the 1-Wire® communication line. Data is transferred serially via the 1-Wire protocol which requires only a single data lead and a ground return. The entire device can be programmed and then write-protected if desired. Alternatively, the part may be programmed multiple times with new data being appended to, but not overwriting, existing data with each subsequent programming of the device. Note: Individual bits can be changed only from a logical 1 to a logical 0, never from a logical 0 to a logical 1. A provision is also included for indicating that a certain page or pages of data are no longer valid and have been replaced with new or updated data that is now residing at an alternate page address. This page address redirection allows software to patch data and enhance the flexibility of the device as a standalone database. The 48-bit serial number that is factory-lasered into each DS2505 provides a guaranteed-unique identity which allows for absolute traceability. The TO-92 and TSOC packages provide a compact enclosure that allows standard assembly equipment to handle the device easily for attachment to printed circuit boards or wiring. Typical applications include storage of calibration constants, maintenance records, asset tracking, product revision status and access codes.
* 16384 bits Electrically Programmable Read Only Memory (EPROM) communicates with the economy of one signal plus ground
* Unique, factory-lasered and tested 64-bit registration number (8-bit family code + 48-bit serial number + 8-bit CRC tester) assures absolute traceability because no two parts are alike
* Built-in multidrop controller ensures compatibility with other 1-Wire Net products
* EPROM partitioned into sixty-four 256-bit pages for randomly accessing packetized data records
* Each memory page can be permanently write-protected to prevent tampering
* Device is an "add only" memory where additional data can be programmed into EPROM without disturbing existing data
* Architecture allows software to patch data by superseding an old page in favor of a newly programmed page
* Reduces control, address, data, power, and programming signals to a single data pin
* Directly connects to a single port pin of a microprocessor and communicates at up to 16.3 kbits per second
* 8-bit family code specifies DS2505 communications requirements to reader
* Presence detector acknowledges when the reader first applies voltage
* Low cost TO-92 or 6-pin TSOC surface mount package
* Reads over a wide voltage range of 2.8V to 6.0V from -40°C to +85°C; programs at 11.5V to 12.0V from -40°C to +50°C
Elecena nie prowadzi sprzedaży elementów elektronicznych, ani w niej nie pośredniczy.
Produkt pochodzi z oferty sklepu Analog Devices