elecena.pl

1-Wire Digital Thermometer with Sequence Detect and PIO

Analog Devices

1-Wire Digital Thermometer with Sequence Detect and PIO RSS Sample
  • Darmowa próbka
MPN:
DS28EA00
Producent:
ANALOG DEVICES
Dodany do bazy:
Ostatnio widziany:
Zmiana ceny:
-100% (21.01.2025)
Poprzednia cena:
3.27

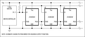
The DS28EA00 is a digital thermometer with 9-bit (0.5°C) to 12-bit (1/16°C) resolution and alarm function with nonvolatile (NV), user-programmable upper and lower trigger points. Each DS28EA00 has its unique 64-bit registration number that is factory-programmed into the chip. Data is transferred serially through the 1-Wire® protocol, which requires only one data line and a ground for communication. The improved 1-Wire front end with hysteresis and glitch filter enables the DS28EA00 to perform reliably in large 1-Wire networks. Unlike other 1-Wire thermometers, the DS28EA00 has two additional pins to implement a sequence detect function. This feature allows the user to discover the registration numbers according to the physical device location in a chain, e.g., to measure the temperature in a storage tower at different height. If the sequence detect function is not needed, these pins can be used as general-purpose input or output. The DS28EA00 can derive the power for its operation directly from the data line ("parasite power"), eliminating the need for an external power supply.

Applications

* Any Rack-Based Electronic System * Climate Control * Data communication equipment * Process Temperature Monitoring * Servers * Wireless Basestations

* Digital Thermometer Measures Temperatures from -40°C to +85°C

* Thermometer Resolution is User-Selectable from 9 to 12 Bits

* Unique 1-Wire Interface Requires Only One Port Pin for Communication

* Each Device has a Unique 64-Bit Factory-Lasered Registration Number

* ROM Multidrop Capability Simplifies Distributed Temperature-Sensing Applications

* Improved 1-Wire Interface with Hysteresis and Glitch Filter

* User-Definable Nonvolatile (NV) Alarm Threshold Settings/User Bytes

* Alarm Search Command to Quickly Identify Devices Whose Temperature is Outside of Programmed Limits

* Standard and Overdrive 1-Wire Speed

* Two General-Purpose Programmable IO (PIO) Pins

* Chain Function Sharing the PIO Pins to Detect Physical Sequence of Devices in Network

* Operating Range: 3.0V to 5.5V, -40°C to +85°C

* Can be Powered from Data Line

* 8-Pin µSOP Package

Elecena nie prowadzi sprzedaży elementów elektronicznych, ani w niej nie pośredniczy.

Produkt pochodzi z oferty sklepu