elecena.pl

11.32Gbps Transceiver with Dual CDRs, Digital Monitors, and DC-Coupled Laser Driver

Analog Devices

11.32Gbps Transceiver with Dual CDRs, Digital Monitors, and DC-Coupled Laser Driver RSS Sample
  • Darmowa próbka
MPN:
MAX3955
Producent:
ANALOG DEVICES
Dodany do bazy:
Ostatnio widziany:
Zmiana ceny:
-100% (20.01.2025)
Poprzednia cena:
14.89

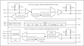
The MAX3955 is an 11.3Gbps, highly-integrated, low-power transceiver with dual CDRs, and digital diagnostics monitoring (DDM) designed for next-generation SONET transmission systems. The receiver incorporates a limiting amplifier with loss-of-signal (LOS) circuit. The limiting amplifier features an independent 9.95Gbps to 11.32Gbps CDR. The transmitter incorporates Maxim’s proprietary DC-coupled laser driver interface, an independent 9.95Gbps to 11.32Gbps CDR, and closed-loop control of average laser power.

The MAX3955 supports differential AC-coupled signaling with integrated 50Ω terminations at Rx input, Rx output, and Tx input. The Tx output is a DC-coupled 25Ω laser diode interface with dedicated pins for the laser anode (TOUTA) and the laser cathode (TOUTC).

An integrated 12-bit analog-to-digital converter (ADC) is utilized to provide digital monitors of internal/external temperature, VCC, and received signal strength indication (RSSI). The MAX3955’s analog monitors and the use of a 2-wire or 3-wire slave interface enables configuration through either a digital-only microcontroller (µC) or through the DS1978 SFP+ controller (future product).

The MAX3955 operates from single +3.3V supply and over a -40°C to +95°C temperature range and is available in a standard 5mm x 5mm, 32-pin TQFN-EP package.

Applications

* OC-192 XFP and SFP+ Optical Transceivers

Performance

* Dual CDRs Exceeding SONET Jitter Requirements with PLL Bandwidth Setting of 7MHz

* 540mW Typical IC Power Dissipation (ILDMOD = 45mA, IBIAS = 45mA, Both CDRs Enabled)

Flexibility

* Independent, Reference-less Tx and Rx CDRs

* Pattern Generator for Receive and Transmit Paths

* Signal Loop-Back Paths

* Programmable Tx Input Equalization and Rx Output Deemphasis

* Pin-Compatible with MAX3956 11.3Gbps Transceiver

Safety and Monitoring

* Integrated Eye Safety Features with Maskable Fault and Interrupt Signal Generation

* Analog Monitors with Integrated 12-Bit ADC, Fully Supporting SFF-8472 DDM with Digital-Only µC

* High-Accuracy Temperature, VCC, and RSSI Monitors

* Auxiliary ADC Input at BADC for General Use

Elecena nie prowadzi sprzedaży elementów elektronicznych, ani w niej nie pośredniczy.

Produkt pochodzi z oferty sklepu