elecena.pl

Audio/Video Switch for Dual SCART Connectors

Analog Devices

Audio/Video Switch for Dual SCART Connectors RSS Sample
  • Darmowa próbka
MPN:
MAX4397SA
Producent:
ANALOG DEVICES
Dodany do bazy:
Ostatnio widziany:

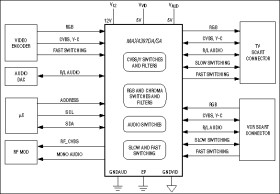
The MAX4397DA/SA dual SCART switch matrices route audio and video signals between an MPEG encoder and two external SCART connectors under I²C control, and meets the requirements of EN50049-1, IEC 933-1, Canal+, and BSkyB standards.

The video and audio channels feature input source selection multiplexers, input buffers, and output buffers for routing all inputs to selected outputs. The MAX4397DA audio encoder input is differential DC-coupled, while the MAX4397SA audio encoder input is single-ended AC-coupled. Except for the MAX4397DA's audio encoder input, all other inputs and outputs are AC-coupled with internal DC-biasing set to predefined levels.

The MAX4397DA/SA provide programmable gain control from +5dB to +7dB in 1dB steps for Red, Green, and Blue component video signals. All other video outputs have a fixed +6dB gain. Additional features include an internal Luma and Chroma (Y/C) mixer that generates a Composite video signal (CVBS) to supply an RF modulator output and internal video reconstruction low-pass filters with passband ripple between -1dB and +1dB from 100kHz to 5.5MHz. The MAX4397DA/SA TV audio channel feature clickless switching and programmable volume control from -56dB to +6dB in 2dB steps. The VCR audio output also has programmable gain for -6dB, 0dB, or +6dB. The device also generates monaural audio from left and right stereo inputs. All audio drivers deliver a 3.0VRMS minimum output.

The MAX4397DA/SA operate with standard 5V and 12V power supplies and support slow-switching and fast-switching signals. The I²C interface programs the gain and volume control, and selects the input source for routing.

The MAX4397DA/SA are available in a compact 48-pin thin QFN package and are specified over the 0°C to +70°C commercial temperature range.

Applications

* Cable Set-Top Boxes * DVDs * Satellite Set-Top Boxes * TVs * VCRs

* Video Outputs Drive 2VP-P into 150Ω

* Audio Outputs Drive 3VRMS into 10kΩ

* Clickless, Popless Audio Gain Control and Switching

* AC-Coupled Video Inputs with Internal Clamp and Bias

* DC-Coupled Video Outputs

* Composite Video Signal Created Internally from Y/C Inputs

* Internal Video Reconstruction Filters Provide -40dB at 27MHz

* Differential (MAX4397DA) or Single-Ended (MAX4397SA) Audio Encoder Input

* Red/Chroma Switch for Bidirectional I/O

* I²C-Programmable RGB Gain from +5dB to +7dB

* I²C-Programmable Audio Gain Control from +6dB to -56dB

* Meets EN50049-1, IEC 933-1, Canal+, and BSkyB Requirements

Elecena nie prowadzi sprzedaży elementów elektronicznych, ani w niej nie pośredniczy.

Produkt pochodzi z oferty sklepu