elecena.pl

Low-Power, Serial, 14-Bit DACs with Voltage-Output

Analog Devices

Low-Power, Serial, 14-Bit DACs with Voltage-Output RSS Sample
  • Darmowa próbka
MPN:
MAX5172
Producent:
ANALOG DEVICES
Dodany do bazy:
Ostatnio widziany:

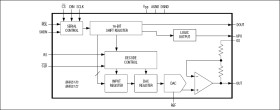
The MAX5170/MAX5172 low-power, serial, voltage-output, 14-bit digital-to-analog converters (DACs) feature a precision output amplifier in a space-saving 16-pin QSOP package. The MAX5170 operates from a +5V single supply and the MAX5172 operates from a +3V single supply. Both devices draw only 280µA of supply current, which reduces to 1µA in shutdown. In addition, the programmable power-up reset feature allows for a user-selectable power-up output voltage of either 0 or midscale.

The 3-wire serial interface is compatible with SPI™, QSPI™, and MICROWIRE™ standards. An input register followed by a DAC register provides a double-buffered input, allowing the input and DAC registers to be updated independently or simultaneously with a 16-bit serial word. Additional features include software and hardware shutdown, shutdown lockout, a hardware clear pin, and a reference input capable of accepting DC and offset AC signals. These devices provide a programmable digital output pin for added functionality and a serial-data output pin for daisy-chaining. All logic inputs are TTL/CMOS-compatible and are internally buffered with Schmitt triggers to allow direct interfacing to optocouplers.

The MAX5170/MAX5172 incorporate a proprietary on-chip circuit that keeps the output voltage virtually "glitch free," limiting the glitches to a few millivolts during power-up.

Both devices are available in 16-pin QSOP packages and are specified for the extended (-40°C to +85°C) temperature range. For 100% pin-compatible Dacs with internal reference, see the 13-bit MAX5130/MAX5131 and the 12-bit MAX5120/MAX5121 data sheets.

Applications

* µP-Controlled Systems * Automated Test Equipment (ATE) * Digital Offset and Gain Adjustments * Industrial Process Controls * Motion Control * Remote Industrial Controls

* ±1 LSB INL

* 1µA Shutdown Current

* "Glitch Free" Output Voltage at Power-Up

* Single-Supply Operation

* +5V (MAX5170)

* +3V (MAX5172)

* Full-Scale Output Range

* +2.048V (MAX5172, VREF = +1.25V)

* +4.096V (MAX5170, VREF = +2.5V )

* Rail-to-Rail Output Amplifier

* Adjustable Output Offset

* Low THD (-80dB) in Multiplying Operation

* SPI/QSPI/MICROWIRE-Compatible 3-Wire Serial Interface

* Programmable Shutdown Mode and Power-Up Reset (0 or Midscale)

* Buffered Output Capable of Driving 5kΩ || 100pF Loads

* User-Programmable Digital Output Pin Allows Serial Control of External Components

* Pin-Compatible Upgrade to the 12-Bit MAX5174/MAX5176

Elecena nie prowadzi sprzedaży elementów elektronicznych, ani w niej nie pośredniczy.

Produkt pochodzi z oferty sklepu