elecena.pl

Low-Power, Serial, 12-Bit DACs with Voltage-Output

Analog Devices

Low-Power, Serial, 12-Bit DACs with Voltage-Output RSS Sample
  • Darmowa próbka
MPN:
MAX5174
Producent:
ANALOG DEVICES
Dodany do bazy:
Ostatnio widziany:

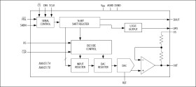
The MAX5174/MAX5176 low-power, serial, voltage-output, 12-bit digital-to-analog converters (DACs) feature a precision output amplifier in a space-saving 16-pin QSOP package. The MAX5174 operates from a single +5V supply, and the MAX5176 operates from a single +3V supply. Both devices draw only 280µA of supply current, which reduces to 1µA in shutdown. In addition, the programmable power-up reset feature allows for a user-selectable output voltage state of either 0 or midscale.

The 3-wire, digital, serial interface is compatible with SPI™/QSPI™, and MICROWIRE™ standards. An input register followed by a DAC register provides a double-buffered input, allowing the input and DAC registers to be updated independently or simultaneously with a 16-bit serial word. Additional features include software and hardware shutdown, shutdown lockout, a hardware clear pin, and a reference input capable of accepting DC and offset AC signals. These devices provide a programmable digital output pin for added functionality and a serial-data output pin for daisy-chaining. All logic inputs are TTL/CMOS compatible and are internally buffered with Schmitt triggers to allow direct interfacing to optocouplers.

The MAX5174/MAX5176 incorporate a proprietary on-chip circuit that keeps the output voltage virtually "glitch free," limiting the glitches to a few millivolts during power-up.

Both devices are available in 16-pin QSOP packages and are specified for the extended (-40°C to +85°C) temperature range. The MAX5170/MAX5172 are pin-compatible 14-bit upgrades to the MAX5174/MAX5176. For 100% pin-compatible DACs with internal reference, see the 13-bit MAX5130/MAX5131 and the 12-bit MAX5120/MAX5121 data sheets.

Applications

* µP-Controlled Systems * Automated Test Equipment (ATE) * Digital Gain and Offset Control * Industrial Process Controls * Motion Control * Remote Industrial Controls

* ±1 LSB INL

* 1µA Shutdown Current

* "Glitch Free" Output Voltage at Power-Up

* Single-Supply Operation

* +5V (MAX5174)

* +3V (MAX5176)

* Full-Scale Output Range

* +2.048V (MAX5176, VREF = +1.25V)

* +4.096V (MAX5174, VREF = +2.5V )

* Rail-to-Rail Output Amplifier

* Adjustable Output Offset

* Low THD (-80dB) in Multiplying Operation

* SPI/QSPI/MICROWIRE-Compatible 3-Wire Serial Interface

* Programmable Shutdown Mode and Power-Up Reset

* Buffered Output Capable of Driving 5kΩ || 100pF Loads

* User-Programmable Digital Output Pin Allows Serial Control of External Components

* 14-Bit Upgrades Available (MAX5170/MAX5172)

Elecena nie prowadzi sprzedaży elementów elektronicznych, ani w niej nie pośredniczy.

Produkt pochodzi z oferty sklepu