elecena.pl

12-Bit DACs with 32-Channel Sample-and-Hold Outputs

Analog Devices

12-Bit DACs with 32-Channel Sample-and-Hold Outputs RSS Sample
  • Darmowa próbka
MPN:
MAX5332
Producent:
ANALOG DEVICES
Dodany do bazy:
Ostatnio widziany:

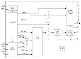
The MAX5331/MAX5332/MAX5333 are 12-bit digital-to-analog converters (DACs) with 32 sample-and-hold (SHA) outputs for applications where a high number of programmable voltages are required. These devices include a clock oscillator and a sequencer that updates the DAC with codes from an internal SRAM. No external components are required to set offset and gain.

The MAX5331/MAX5332/MAX5333 feature a -4.5V to +9.2V output voltage range. Other features include a 3.2mV/step resolution, with output linearity error, typically 0.03% of full-scale range (FSR). The 100kHz refresh rate updates each SHA every 320µs, resulting in negligible output droop. Remote ground sensing allows the outputs to be referenced to the local ground of a separate device.

These devices are controlled through a 20MHz SPI™/QSPI™/MICROWIRE™-compatible 3-wire serial interface. Immediate update mode allows any channel's output to be updated within 20µs. Burst Mode® allows multiple values to be loaded into memory in a single, high-speed data burst. All channels are updated within 330µs of data being loaded.

Each device features an output clamp and output resistors for filtering. The MAX5331 features a 50Ω output impedance and is capable of driving up to 250pF of output capacitance. The MAX5332 features a 500Ω output impedance and is capable of driving up to 10nF of output capacitance. The MAX5333 features a 1kΩ output impedance and is capable of driving up to 10nF of output capacitance.

The MAX5331/MAX5332/MAX5333 are available in 12mm x 12mm, 64-pin TQFP and 10mm x 10mm, 68-pin thin QFN packages.

Applications

* Automated Test Equipment (ATE) * Industrial Process Controls * Instrumentation * MEMS Mirror Servo Control

Elecena nie prowadzi sprzedaży elementów elektronicznych, ani w niej nie pośredniczy.

Produkt pochodzi z oferty sklepu