elecena.pl

3V/+5V, Serial-Input, Voltage-Output, 16-Bit DACs

Analog Devices

3V/+5V, Serial-Input, Voltage-Output, 16-Bit DACs RSS Sample
  • Darmowa próbka
MPN:
MAX5444
Producent:
ANALOG DEVICES
Dodany do bazy:
Ostatnio widziany:
Zmiana ceny:
-100% (21.01.2025)
Poprzednia cena:
14.65

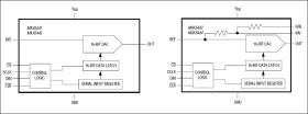
The MAX5441–MAX5444 are serial-input, voltage-output, 16-bit digital-to-analog converters (DACs) in tiny µMAX® packages, 50% smaller than comparable DACs in 8-pin SOs. They operate from low +3V (MAX5443/MAX5444) or +5V (MAX5441/MAX5442) single supplies. They provide 16-bit performance (±2 LSB INL and ±1 LSB DNL) over temperature without any adjustments. Unbuffered DAC outputs result in a low supply current of 120µA and a low offset error of 2 LSB.

The DAC output ranges from 0 to VREF. For bipolar operation, matched scaling resistors are provided in the MAX5442/MAX5444 for use with an external precision op amp (such as the MAX400), generating a ±VREF output swing.

A 16-bit serial word is used to load data into the DAC latch. The 25MHz, 3-wire serial interface is compatible with SPI/QSPI™/MICROWIRE®, and can interface directly with optocouplers for applications requiring isolation. A power-on reset circuit clears the DAC output to code 0 (MAX5441/MAX5443) or code 32768 (MAX5442 /MAX5444) when power is initially applied.

A logic low on active-low CLR asynchronously clears the DAC output to code 0 (MAX5441/MAX5443) or code 32768 (MAX5442/MAX5444) independent of the serial interface.

The MAX5441/MAX5443 are available in 8-pin µMAX packages. The MAX5442/MAX5444 are available in 10-pin µMAX packages. Applications

* Automated Test Equipment (ATE) * Data Acquisition * High-Resolution Offset and Gain Adjustment * Industrial Process Controls

* Ultra-Small 3mm x 5mm 8-Pin µMAX Package

* Low 120µA Supply Current

* Fast 1µs Settling Time

* 25MHz SPI/QSPI/MICROWIRE-Compatible Serial Interface

* VREF Range Extends to VDD

* +5V (MAX5441/MAX5442) or +3V (MAX5443/MAX5444) Single-Supply Operation

* Full 16-Bit Performance Without Adjustments

* Unbuffered Voltage Output Directly Drives 60kΩ Loads

* Power-On Reset Circuit Clears DAC Output to Code 0 (MAX5441/MAX5443) or Code 32768 (MAX5442/MAX5444)

* Schmitt-Trigger Inputs for Direct Optocoupler Interface

* Asynchronous Active-Low CLR

Elecena nie prowadzi sprzedaży elementów elektronicznych, ani w niej nie pośredniczy.

Produkt pochodzi z oferty sklepu