elecena.pl

Dual, Ultra-Low-Power, 12-Bit, Voltage-Output DACs

Analog Devices

Dual, Ultra-Low-Power, 12-Bit, Voltage-Output DACs RSS Sample
  • Darmowa próbka
MPN:
MAX5534
Producent:
ANALOG DEVICES
Dodany do bazy:
Ostatnio widziany:
Zmiana ceny:
-100% (18.01.2025)
Poprzednia cena:
4.33

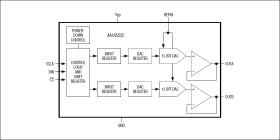
The MAX5532–MAX5535 are dual, 12-bit, ultra-low-power, voltage-output, digital-to-analog converters (DACs) offering rail-to-rail buffered voltage outputs. The DACs operate from a 1.8V to 5.5V supply and consume less than 5µA, making the devices suitable for low-power and low-voltage applications. A shutdown mode reduces overall current, including the reference input current, to just 0.18µA. The MAX5532–MAX5535 use a 3-wire serial interface that is compatible with SPI™, QSPI™, and MICROWIRE™.

Upon power-up, the MAX5532–MAX5535 outputs are driven to zero scale, providing additional safety for applications that drive valves or for other transducers that need to be off during power-up. The zero-scale outputs enable glitch-free power-up.

The MAX5532 accepts an external reference input and provides unity-gain outputs. The MAX5533 contains a precision internal reference and provides a buffered external reference output with unity-gain DAC outputs. The MAX5534 accepts an external reference input and provides force-sense outputs. The MAX5535 contains a precision internal reference and provides a buffered external reference output with force-sense DAC outputs.

The MAX5534/MAX5535 are available in a 4mm x 4mm x 0.8mm, 12-pin, thin QFN package. The MAX5532/MAX5533 are available in an 8-pin µMAX® package. All devices are guaranteed over the extended -40°C to +85°C temperature range.

For 10-bit compatible devices, refer to the MAX5522–MAX5525 data sheet. For 8-bit compatible devices, refer to the MAX5512–MAX5515 data sheet.

Applications

* Automatic Trimming and Calibration in Factory or Field * Chemical Sensor Cell Bias for Gas Monitors * Industrial Process Control and Remote Industrial Devices * Instrumentation * Portable Battery-Powered Devices * Programmable LCD Bias * Programmable Voltage and Current Sources * Remote Data Conversion and Monitoring

* Ultra-Low 5µA Supply Current

* Shutdown Mode Reduces Supply Current to 0.18µA (max)

* Single +1.8V to +5.5V Supply

* Small 4mm x 4mm x 0.8mm Thin QFN Package

* Internal Reference Sources 8mA of Current (MAX5533/MAX5535)

* Flexible Force-Sense-Configured Rail-to-Rail Output Buffers

* Fast 16MHz, 3-Wire, SPI-/QSPI-/MICROWIRE-Compatible Serial Interface

* TTL- and CMOS-Compatible Digital Inputs with Hysteresis

* Glitch-Free Outputs During Power-Up

Elecena nie prowadzi sprzedaży elementów elektronicznych, ani w niej nie pośredniczy.

Produkt pochodzi z oferty sklepu