elecena.pl

CMOS, 12-Bit, µP-Compatible DAC

Analog Devices

CMOS, 12-Bit, µP-Compatible DAC RSS Sample
  • Darmowa próbka
MPN:
MX7542
Producent:
ANALOG DEVICES
Dodany do bazy:
Ostatnio widziany:
Zmiana ceny:
-100% (22.01.2025)
Poprzednia cena:
10.55

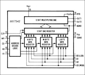
The MX7542 is a CMOS 12-Bit digital-to-analog converter (DAC) which directly interfaces to both 8-bit and 4-bit microprocessors. Input data is loaded as three 4-bit bytes, and it then transferred to an internal 12-bit DAC register. Data load and transfer interface timing is similar to that of a static RAM write cycle. A Clear input is also provided which resets the DAC register to all zeros. This can be used to initialize the device on power up or during software calibration routines. Low power consumption, +5V operation, and multiplying capability make the MX7542 suitable for numerous high precision processor controlled DAC applications. The MX7542 is supplied in 16-lead DIP and Small Outline packages.

Applications

* Auto-Calibration Circuitry * Digitally Controlled Filters * Motion Control Systems * Portable Test Equipment * Programmable Power Sources

* 12-Bit Resolution

* ±½ LSB Gain Accuracy (MX7542G)

* 5 ppm/°C Max. Gain Drift

* Microprocessor Compatible

* 40mW Max. Power Dissipation

* +5V Operation

Elecena nie prowadzi sprzedaży elementów elektronicznych, ani w niej nie pośredniczy.

Produkt pochodzi z oferty sklepu