21-Bit Deserializers with Programmable Spread Spectrum and DC Balance
Analog Devices
RSS
Sample
- Darmowa próbka
- MPN:
- MAX9254
- Producent:
- ANALOG DEVICES
- Dodany do bazy:
- Ostatnio widziany:
Sugerowane produkty dla progmable
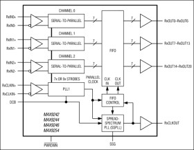
The MAX9242/MAX9244/MAX9246/MAX9254 deserialize three LVDS serial-data inputs into 21 single-ended LVCMOS/LVTTL outputs. A separate parallel-rate LVDS clock provides the timing for deserialization. The MAX9242/MAX9244/MAX9246/MAX9254 feature spread-spectrum capability, allowing the output data and clock frequency to spread over a specified range to reduce EMI. The single-ended data and clock outputs are programmable for a frequency spread of ±2%, ±4%, or no spread. The spread-spectrum function is also available when the MAX9242/MAX9244/MAX9246/MAX9254 operate in non-DC-balanced mode. The modulation rate of the spread is 32kHz for a 33MHz LVDS clock input and scales linearly with frequency. The single-ended outputs have a separate supply, allowing +1.8V to +5V output logic levels.
The MAX9254 features high output drive current for both data and clock outputs for faster transition times in the presence of heavy capacitive loads.
The MAX9242/MAX9244/MAX9246/MAX9254 feature programmable DC balance, allowing isolation between a serializer and deserializer using AC-coupling. The MAX9242/MAX9244/MAX9246/MAX9254 operate with the MAX9209/MAX9213 serializers and are available with a rising-edge strobe (MAX9242) or falling-edge strobe (MAX9244/MAX9246/MAX9254). The LVDS inputs meet ISO 10605 ESD specifications with ±30kV Air-Gap Discharge and ±6kV Contact Discharge ratings.
Applications
* Automotive DVD Entertainment Systems * Automotive Navigation Systems * Digital Copiers * Laser Printers
* Programmable ±4%, ±2%, or OFF Spread-Spectrum Output for Reduced EMI
* Programmable DC-Balanced or Non-DC-Balanced Modes
* DC Balance Allows AC-Coupling for Wider Input Common-Mode Voltage Range
* Spread Spectrum Operates in DC-Balanced or Non-DC-Balanced Mode
* High Output Drive (MAX9254)
* π/4 Deskew by Oversampling (MAX9242/MAX9244/MAX9254)
* 16MHz-to-34MHz (DC-Balanced) and 20MHz-to-40MHz (Non-DC-Balanced) Operation (MAX9242/MAX9244/MAX9254)
* 6MHz-to-18MHz (DC-Balanced) and 8MHz-to-20MHz (Non-DC-Balanced) Operation (MAX9246)
* Rising-Edge (MAX9242) or Falling-Edge (MAX9244/MAX9246/MAX9254) Output Strobe
* High-Impedance Outputs when Active-Low PWRDWN is Low Allow Output Busing
* Separate Output Supply Allows Interface to +1.8V, +2.5V, +3.3V, and +5V Logic
* LVDS Inputs Meet ISO 10605 ESD Protection at ±30kV Air-Gap Discharge and ±6kV Contact Discharge
* LVDS Inputs Meet IEC 61000-4-2 Level 4 ESD Protection at ±15kV Air-Gap Discharge and ±8kV Contact Discharge
* LVDS Inputs Conform to ANSI TIA/EIA-644 Standard
* +3.3V Main Power Supply
Elecena nie prowadzi sprzedaży elementów elektronicznych, ani w niej nie pośredniczy.
Produkt pochodzi z oferty sklepu Analog Devices