elecena.pl

Quad 16-/14-/12-Bit Rail-to-Rail DACs with IC Interface

Analog Devices

Quad 16-/14-/12-Bit Rail-to-Rail DACs with IC Interface RSS Sample
  • Darmowa próbka
MPN:
LTC2609
Producent:
ANALOG DEVICES
Dodany do bazy:
Ostatnio widziany:
Zmiana ceny:
-100% (21.01.2025)
Poprzednia cena:
11.26

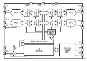
The LTC2609/LTC2619/LTC2629 are quad 16-, 14- and 12- bit, 2.7V to 5.5V rail-to-rail voltage output DACs in a 16‑lead SSOP package. They have built-in high performance output buffers and are guaranteed monotonic.

These parts establish new board-density benchmarks for 16- and 14-bit DACs and advance performance standards for output drive and load regulation in single-supply, voltage- output DACs.

The parts use a 2-wire, I2C compatible serial interface. The LTC2609/LTC2619/LTC2629 operate in both the standard mode (clock rate of 100kHz) and the fast mode (clock rate of 400kHz).

The LTC2609/LTC2619/LTC2629 incorporate a power-on reset circuit. During power-up, the voltage outputs rise less than 10mV above zero-scale; after power-up, they stay at zero-scale until a valid write and update take place. The power-on reset circuit resets the LTC2609-1/LTC2619‑1/ LTC2629-1 to mid-scale. The voltage outputs stay at midscale until a valid write and update take place.

Applications

* Mobile Communications

* Process Control and Industrial Automation

* Automatic Test Equipment and Instrumentation

* Smallest Pin-Compatible Quad DACs:

* LTC2609: 16 Bits

* LTC2619: 14 Bits

* LTC2629: 12 Bits

* Guaranteed Monotonic Over Temperature

* Separate Reference Inputs

* 27 Selectable Addresses

* 400kHz I2C™ Interface

* Wide 2.7V to 5.5V Supply Range

* Low Power Operation: 250μA per DAC at 3V

* Individual Channel Power Down to 1μA (Max)

* High Rail-to-Rail Output Drive (±15mA, Min)

* Ultralow Crosstalk Between DACs (5μV)

* LTC2609/LTC2619/LTC2629: Power-On Reset to Zero-Scale

* LTC2609-1/LTC2619-1/LTC2629-1: Power-On Reset to Mid-Scale

* Tiny 16-Lead Narrow SSOP Package

Elecena nie prowadzi sprzedaży elementów elektronicznych, ani w niej nie pośredniczy.

Produkt pochodzi z oferty sklepu