Automotive, 22W, 4.5 to 18V analog-input mono Class-D audio amplifier
Texas Instruments
RSS
Sample
- Darmowa próbka
- MPN:
- TAS5441-Q1
- Producent:
- TEXAS INSTRUMENTS
- Dodany do bazy:
- Ostatnio widziany:
Sugerowane produkty dla tas5441
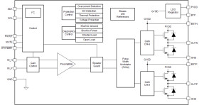
The TAS5441-Q1 is a mono class-D audio amplifier, designed for use in automotive emergency call (eCall), telematics, instrument cluster, and infotainment applications. The device provides up to 22-W into 4 Ω at less than 1 0% THD+N from a 14.4-Vdc automotive battery. The wide operating voltage range and excellent efficiency make the device an excellent choice for start-stop support or running from a backup battery when required. The integrated load-dump protection reduces external voltage clamp cost and size, and the onboard load diagnostics report the status of the speaker through I 2C.
Elecena nie prowadzi sprzedaży elementów elektronicznych, ani w niej nie pośredniczy.
Produkt pochodzi z oferty sklepu Texas Instruments