elecena.pl

1000BASE-T1 automotive Ethernet PHY with RGMII

Texas Instruments

1000BASE-T1 automotive Ethernet PHY with RGMII RSS Sample
  • Darmowa próbka
MPN:
DP83TG720R-Q1
Producent:
TEXAS INSTRUMENTS
Dodany do bazy:
Ostatnio widziany:

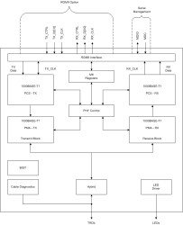
The DP83TG720R-Q1 device is an IEEE 802.3bp and Open Alliance compliant automotive Ethernet physical layer transceiver. The device provides all physical layer functions needed to transmit and receive data over unshielded/shielded single twisted-pair cables. The device supports RGMII for interfacing with a MAC.

DP83TG720 is compliant to Open Alliance EMC and interoperable specifications over unshielded twisted cable. DP83TG720 is front print compatible to TI’s 100BASE-T1 PHY enabling design scalability with single board for both speeds. This device offers the Diagnostic Tool Kit, with an extensive list of real-time monitoring tools, debug tools and test modes. Within the tool kit is the first integrated electrostatic discharge (ESD) monitoring tool. The device is capable of counting ESD events on both the xMII and MDI as well as providing real-time monitoring through the use of a programmable interrupt. Additionally, the DP83TG720R-Q1 includes a data generator and checker tool to generate customizable MAC packets and check the errors on incoming packets. This enables system level datapath tests/optimizations without dependency on MAC.

Elecena nie prowadzi sprzedaży elementów elektronicznych, ani w niej nie pośredniczy.

Produkt pochodzi z oferty sklepu