elecena.pl

24-bit, 32-kSPS, 8-channel, simultaneous-sampling, delta-sigma ADC

Texas Instruments

24-bit, 32-kSPS, 8-channel, simultaneous-sampling, delta-sigma ADC RSS Sample
  • Darmowa próbka
MPN:
ADS131M08
Producent:
TEXAS INSTRUMENTS
Dodany do bazy:
Ostatnio widziany:

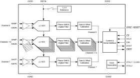
The ADS131M08 is a eight-channel, simultaneously-sampling, 24-bit, delta-sigma (ΔΣ), analog-to-digital converter (ADC) that offers wide dynamic range, low power, and energy-measurement-specific features, making the device an excellent fit for energy metering, power metrology, and circuit breaker applications. The ADC inputs can be directly interfaced to a resistor-divider network or a power transformer to measure voltage or to a current transformer or a Rogowski coil to measure current.

The individual ADC channels can be independently configured depending on the sensor input. A low-noise, programmable gain amplifier (PGA) provides gains ranging from 1 to 128 to amplify low-level signals. Additionally, this device integrates channel-to-channel phase calibration and offset and gain calibration registers to help remove signal-chain errors.

A low-drift, 1.2-V reference is integrated into the device reducing printed circuit board (PCB) area. Optional cyclic redundancy checks (CRCs) on the data input, data output, and register map maintain communication integrity.

The complete analog front-end (AFE) is offered in a 32-pin TQFP package or a leadless 32-pin WQFN package and is specified over the industrial temperature range of –40°C to +125°C.

Elecena nie prowadzi sprzedaży elementów elektronicznych, ani w niej nie pośredniczy.

Produkt pochodzi z oferty sklepu