elecena.pl

Automotive, two-channel, 24-bit, 64-kSPS simultaneous-sampling delta-sigma ADC

Texas Instruments

Automotive, two-channel, 24-bit, 64-kSPS simultaneous-sampling delta-sigma ADC RSS Sample
  • Darmowa próbka
MPN:
ADS131M02-Q1
Producent:
TEXAS INSTRUMENTS
Dodany do bazy:
Ostatnio widziany:

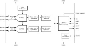
The ADS131M02-Q1 is a two-channel, simultaneously sampling, 24-bit, delta-sigma (ΔΣ), analog-to-digital converter (ADC) that offers wide dynamic range and low power, making the device designed for automotive battery management systems (BMS). The ADC inputs can be directly interfaced to shunt resistors for bidirectional battery-current measurements, to resistor-divider networks for high-voltage measurements, or to temperature sensors (such as thermistors or analog output temperature sensors).

The individual ADC channels can be independently configured depending on the sensor input. A low-noise, programmable gain amplifier (PGA) provides gains ranging from 1 to 128 to amplify low-level signals. Additionally, this device integrates channel-to-channel phase calibration and offset and gain calibration registers to help remove signal-chain errors.

A low-drift, 1.2-V reference is integrated into the device, reducing printed circuit board (PCB) area. Optional cyclic redundancy checks (CRCs) on the data input, data output, and register map maintain communication integrity.

The complete analog front-end (AFE) is offered in a 20-pin TSSOP package and is specified over the automotive temperature range of –40°C to +125°C.

Elecena nie prowadzi sprzedaży elementów elektronicznych, ani w niej nie pośredniczy.

Produkt pochodzi z oferty sklepu