Wide Bandwidth, DC Restoration Circuit
Texas Instruments
RSS
Sample
- Darmowa próbka
- MPN:
- OPA615
- Producent:
- TEXAS INSTRUMENTS
- Dodany do bazy:
- Ostatnio widziany:
Sugerowane produkty dla opa615
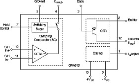
The OPA615 is a complete subsystem for very fast and precise DC restoration, offset clamping, and low-frequency hum suppression of wideband amplifiers or buffers. Although it is designed to stabilize the performance of video signals, the circuit can also be used as a sample-and-hold amplifier, high-speed integrator, or peak detector for nanosecond pulses. The device features a wideband Operational Transconductance Amplifier (OTA) with a high-impedance cascode current source output and fast and precise sampling comparator that together set a new standard for high-speed applications. Both the OTA and the sampling comparator can be used as stand-alone circuits or combined to form a more complex signal processing stage. The self-biased, bipolar OTA can be viewed as an ideal voltage-controlled current source and is optimized for low input bias current. The sampling comparator has two identical high-impedance inputs and a current source output optimized for low output bias current and offset voltage; it can be controlled by a TTL-compatible switching stage within a few nanoseconds. The transconductance of the OTA and sampling comparator can be adjusted by an external resistor, allowing bandwidth, quiescent current, and gain trade-offs to be optimized.
The OPA615 is available in both an SO-14 surface-mount and an MSOP-10 package.
Elecena nie prowadzi sprzedaży elementów elektronicznych, ani w niej nie pośredniczy.
Produkt pochodzi z oferty sklepu Texas Instruments