2.7-W, mono, analog input Class-D audio amp with integrated boost converter & selectable gain
Texas Instruments
RSS
Sample
- Darmowa próbka
- MPN:
- TPA2013D1
- Producent:
- TEXAS INSTRUMENTS
- Dodany do bazy:
- Ostatnio widziany:
Sugerowane produkty dla tpa2013d1
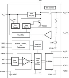
The TPA2013D1 device is a high efficiency Class-D audio power amplifier with an integrated boost converter. It drives up to 2.7 W (10% THD+N) into a 4-Ω speaker. With 85% typical efficiency, the TPA2013D1 helps extend battery life when playing audio.
The built-in boost converter generates the voltage rail for the Class-D amplifier. This provides a louder audio output than a stand-alone amplifier connected directly to the battery. It also maintains a consistent loudness, regardless of battery voltage. Additionally, the boost converter can be used to supply external devices.
The TPA2013D1 has an integrated low pass filter to improve RF rejection and reduce out-of-band noise, increasing the signal-to-noise ratio (SNR). A built-in PLL synchronizes the boost converter and Class-D switching frequencies, thus eliminating beat frequencies and improving audio quality. All outputs are fully protected against shorts to ground, power supply, and output-to-output shorts.
Elecena nie prowadzi sprzedaży elementów elektronicznych, ani w niej nie pośredniczy.
Produkt pochodzi z oferty sklepu Texas Instruments