elecena.pl

Automotive 112dB SNR Stereo ADC With Differential Inputs

Texas Instruments

Automotive 112dB SNR Stereo ADC With Differential Inputs RSS Sample
  • Darmowa próbka
MPN:
PCM1804-Q1
Producent:
TEXAS INSTRUMENTS
Dodany do bazy:
Ostatnio widziany:

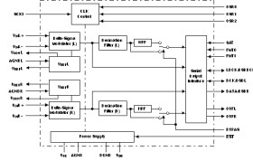
The PCM1804-Q1 device is a high-performance, single-chip stereo A/D converter with fully differential analog voltage input which uses a precision delta-sigma modulator and includes a linear-phase antialias digital filter and high-pass filter (HPF) that removes DC offset from the input signal. The PCM1804-Q1 device is suitable for a wide variety of mid- to high-grade consumer and professional applications, where excellent performance and 5-V analog supply and 3.3-V digital power-supply operation are required. The PCM1804-Q1 device can achieve both PCM audio and DSD format due to the precision delta-sigma modulator. The PCM1804-Q1 device is fabricated using an advanced CMOS process and is available in a small 28-pin SSOP package.

Elecena nie prowadzi sprzedaży elementów elektronicznych, ani w niej nie pośredniczy.

Produkt pochodzi z oferty sklepu