elecena.pl

Stereo USB1.1 CODEC with line-out and S/PDIF I/O, Self-powered (HID Interface)

Texas Instruments

Stereo USB1.1 CODEC with line-out and S/PDIF I/O, Self-powered (HID Interface) RSS Sample
  • Darmowa próbka
MPN:
PCM2903C
Producent:
TEXAS INSTRUMENTS
Dodany do bazy:
Ostatnio widziany:

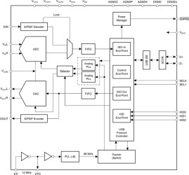
The PCM2903C is TI’s single-chip, USB, stereo audio codec with a USB-compliant full-speed protocol controller and S/PDIF. The USB protocol controller requires no software code. The PCM2903C employs SpAct™ architecture, TI’s unique system that recovers the audio clock from USB packet data. On-chip analog PLLs with SpAct enable playback and record with low clock jitter, as well as independent playback and record sampling rates.

Elecena nie prowadzi sprzedaży elementów elektronicznych, ani w niej nie pośredniczy.

Produkt pochodzi z oferty sklepu