elecena.pl

Enhanced Product 12-Bit Analog-to-Digital Converter (ADC) With Serial Control and 11 Analog Inputs

Texas Instruments

Enhanced Product 12-Bit Analog-to-Digital Converter (ADC) With Serial Control and 11 Analog Inputs RSS Sample
  • Darmowa próbka
MPN:
TLC2543-EP
Producent:
TEXAS INSTRUMENTS
Dodany do bazy:
Ostatnio widziany:

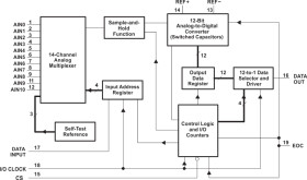
The TLC2543 is a 12-bit, switched-capacitor, successive-approximation, analog-to-digital converter (ADC). This device, with three control inputs [chip select (CS), input-output clock (I/O CLOCK), and address input (DATA INPUT)], is designed for communication with the serial port of a host processor or peripheral through a serial 3-state output. The device allows high-speed data transfers from the host.

In addition to the high-speed converter and versatile control capability, the device has an on-chip 14-channel multiplexer that can select any 1 of 11 inputs or any 1 of 3 internal self-test voltages. The sample-and-hold function is automatic. At the end of conversion, the end-of-conversion (EOC) output goes high to indicate that conversion is complete. The converter incorporated in the device features differential high-impedance reference inputs that facilitate ratiometric conversion, scaling, and isolation of analog circuitry from logic and supply noise. A switched-capacitor design allows low-error conversion over the full operating temperature range.

Elecena nie prowadzi sprzedaży elementów elektronicznych, ani w niej nie pośredniczy.

Produkt pochodzi z oferty sklepu