elecena.pl

12-Bit 66 kSPS ADC Ser. Out, Pgrmable Pwrdn, MSB/LSB First, Built-In Self-Test Mode, 11 Ch.

Texas Instruments

12-Bit 66 kSPS ADC Ser. Out, Pgrmable Pwrdn, MSB/LSB First, Built-In Self-Test Mode, 11 Ch. RSS Sample
  • Darmowa próbka
MPN:
TLV2543
Producent:
TEXAS INSTRUMENTS
Dodany do bazy:
Ostatnio widziany:

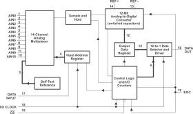
The TLV2543C and TLV2543I are 12-bit, switched-capacitor, successive-approximation, analog-to-digital converters (ADCs). Each device has three control inputs [chip select (CS\), the input-output clock (I/O CLOCK), and the address input (DATA INPUT)] and is designed for communication with the serial port of a host processor or peripheral through a serial 3-state output. The device allows high-speed data transfers from the host.

In addition to the high-speed converter and versatile control capability, the device has an on-chip 14-channel multiplexer that can select any one of 11 inputs or any one of three internal self-test voltages. The sample-and-hold function is automatic. At the end of conversion, the end-of-conversion (EOC) output goes high to indicate that conversion is complete. The converter incorporated in the device features differential high-impedance reference inputs that facilitate ratiometric conversion, scaling, and isolation of analog circuitry from logic and supply noise. A switched-capacitor design allows low-error conversion over the full operating temperature range.

The TLV2543 is available in the DW, DB, and N packages. The TLV2543C is characterized for operation from 0°C to 70°C, and the TLV2543I is characterized for operation from -40°C to 85°C.

Elecena nie prowadzi sprzedaży elementów elektronicznych, ani w niej nie pośredniczy.

Produkt pochodzi z oferty sklepu